中关村在线

首页 排行 新品 问答 下载 论坛 手机 笔记本 数码相机 主板 显卡 平板电脑 更多

VisionPro遮光密封圈可升级为触控感应表面,你觉得如何

举报
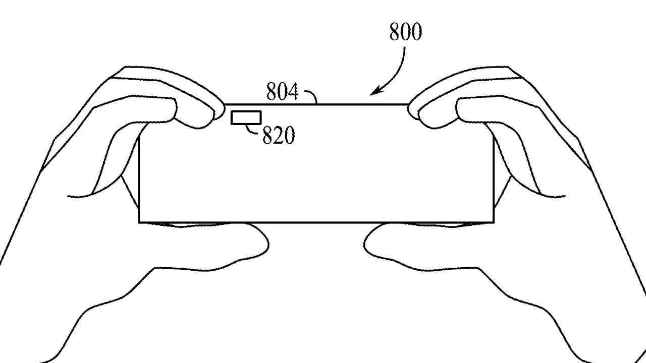
苹果公司获批一项新专利,正探索将 Vision Pro 头显的遮光密封圈(Light Seal)升级为触控感应表面(具备触摸感应能力的材料或结构,可识别用户接触、按压或滑动动作),以在不增加设备体积或重量的前提下拓展操控方式。
讨论回答 (16)
看壹ke壹
4回复
溫暖如初
回复看壹ke壹:果粉卷起来真好看
APP查看更多回复(4)
生若浮茶
回忆狠美却狠殇
雪梨花
酒醒天寒
宁负苍天不负卿
拥抱太阳的月亮!
冬烟超级甜
我不想吃米其林
只做公主
纯纯小猫哥
隔着千山万水的爱
展开查看全部 16 条讨论
相关问题

苹果升级Vision Pro头显访客模式,你有体验吗?

1.7万 浏览 22 回答

三星挑战苹果VisionPro,你支持谁?

1.8万 浏览 7 回答

苹果VisionPro将支持读取唇语,你想试试吗?

1.7万 浏览 5 回答

VisionPro遮光密封圈可升级为触控感应表面,你觉得如何

8394 浏览 5 回答

VisionPro2仍在测试M4芯片,有关注吗?

1.7万 浏览 5 回答

相关产品
扩展阅读

Get一点:你知道为什么手机膜用久了,几下就脏吗?

评论 5

Get一点:你知道为什么手机膜用久了,几下就脏吗?

微星MPG B850M EDGE TI MAX WIFI主板评测:银白刀锋战力拉满

评论 6

微星MPG B850M EDGE TI MAX WIFI主板评测:银白刀锋战力拉满

REDMI Turbo 5 Max深度评测:直接上 “Max”的底气来自哪里?

评论 30

REDMI Turbo 5 Max深度评测:直接上 “Max”的底气来自哪里?

用N卡1/3价格打造全能设计平台 实测看锐炫Pro B60性价比为何更高

评论 7

用N卡1/3价格打造全能设计平台 实测看锐炫Pro B60性价比为何更高

《明日方舟:终末地》体验:“触手可及”的工业化沉浸感

评论 6

《明日方舟:终末地》体验:“触手可及”的工业化沉浸感
热门问题

平凡的荣耀父亲给女儿出气是第几集啊

1838 浏览 4 回答

平凡的荣耀父亲给女儿出气是第几集啊

华为手机有几个档次 最好 中等 下等 分别是好不好的 怎么一看就清楚的

9721 浏览 4 回答

华为手机有几个档次 最好 中等 下等 分别是好不好的 怎么一看就清楚的

未来十年有望翻十倍的股票有哪些?

3381 浏览 6 回答

未来十年有望翻十倍的股票有哪些?

军舰、潜艇等的航速用“节”来表明,一节到底有多大,折算成千米是多少?

1624 浏览 4 回答

军舰、潜艇等的航速用“节”来表明,一节到底有多大,折算成千米是多少?

电子发票代码在哪里看

5983 浏览 6 回答

电子发票代码在哪里看

拼多多的客户服务电话是多少啊?

3213 浏览 6 回答

拼多多的客户服务电话是多少啊?

公路中间有红黄蓝三条实线是什么意思?

6929 浏览 6 回答

公路中间有红黄蓝三条实线是什么意思?

免费韩国漫画在线观看的地址有么?

8068 浏览 5 回答

免费韩国漫画在线观看的地址有么?

新的手机剩余多少电量时充电合适

1965 浏览 4 回答

新的手机剩余多少电量时充电合适

液晶电视寿命几年?一般几年后破损需要修理?

365 浏览 5 回答

液晶电视寿命几年?一般几年后破损需要修理?
最新问答

老婆租房押金被扣,如何维权?

9441 浏览 9 回答

老婆租房押金被扣,如何维权?

现在2025年哪款手机性价比比较高2000元左右的手机

9773 浏览 4 回答

现在2025年哪款手机性价比比较高2000元左右的手机

骁龙8Gen2是什么cpu?

9251 浏览 4 回答

骁龙8Gen2是什么cpu?

9月换手机建议一步到位,这6款堪称“性能王炸”,流畅用六年

1050 浏览 4 回答

9月换手机建议一步到位,这6款堪称“性能王炸”,流畅用六年

ppt肿么录屏

735 浏览 4 回答

ppt肿么录屏
举报
举报成功

经过核实后将会做出处理,感谢您为社区和谐做出贡献。

请选择删除原因
删除成功
确定推荐该回答?
推荐成功

更多频道

频道导航
辅助工具